泽尔机器人/心光俱乐部是杀猪盘,换名骗钱,单割会员,崩盘在即
4小时前 0浏览
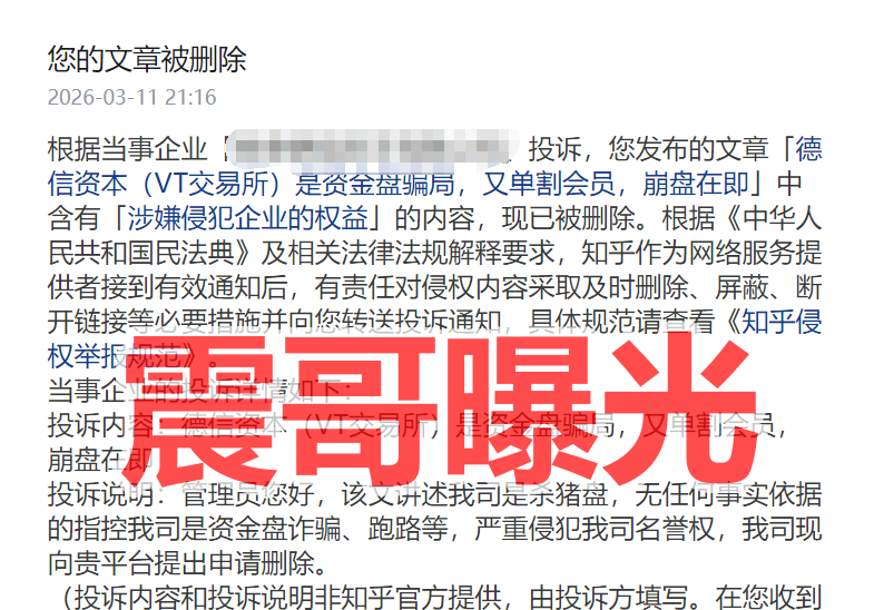
心光俱乐部这个分红盘,震哥之前曝光过几次。1月底崩盘后,改名“泽尔机器人”又回来割韭菜了。 以前打的是新能源旗号,现在换成机器人噱头,搞什么无人机投资。门槛高了,模式没变——还是分红盘那套。 昨天又有受害者联系我,说自己又被割了。封号理由还是老借口:...

心光俱乐部这个分红盘,震哥之前曝光过几次。1月底崩盘后,改名“泽尔机器人”又回来割韭菜了。 ...

近年来,移动互联网飞速发展,老百姓上网愈发便捷。然而,这也为各类互联网骗局提供了滋生的温床。每年...

金融板块最容易被信息差蒙蔽,信息差的本质,是认知的断层;而断层之上,恰是信任被精心切割的缝隙。加...

“稳赚不赔”的谎言背后,是无数家庭即将破碎的噩梦,智天数域究竟埋了多少雷? 第一,身份构建纯属虚...

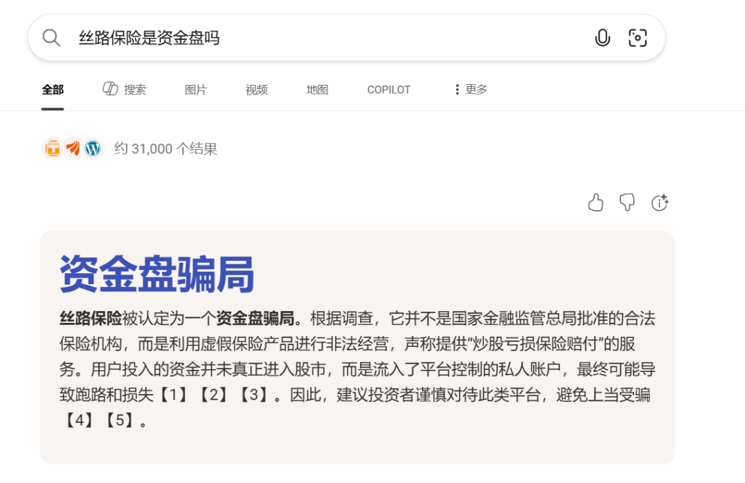
丝路保险这个股票跟单盘,震哥上个月就已经预警过一次了。这个盘子是“安我股保”的平移重启盘,现在换...

昊天评盘界:丝路保险股票跟单类资金盘骗局,上个月昊天预警过一次了,原“安我股保”的平移重启盘,昊...

昊天评盘界:心光俱乐部这个分红类资金盘骗局,昊天之前也是曝光过几次,1月底崩盘改名泽尔机器人后又...

网络中又出现了一些新的诈骗项目,大家千万不要被骗了! 1、“圆梦行动”发650万元的骗局 “圆梦...
4小时前 0浏览
心光俱乐部这个分红盘,震哥之前曝光过几次。1月底崩盘后,改名“泽尔机器人”又回来割韭菜了。 以前打的是新能源旗号,现在换成机器人噱头,搞什么无人机投资。门槛高了,模式没变——还是分红盘那套。 昨天又有受害者联系我,说自己又被割了。封号理由还是老借口:...
9小时前 0浏览
近年来,移动互联网飞速发展,老百姓上网愈发便捷。然而,这也为各类互联网骗局提供了滋生的温床。每年,形形色色的资金盘、虚拟币以及传销骗局层出不穷。据不完全统计,每年崩盘跑路的资金盘骗局少说也有几千个,多则上万,众多参与者因此损失惨重。 值得注意的是,部...
9小时前 0浏览
金融板块最容易被信息差蒙蔽,信息差的本质,是认知的断层;而断层之上,恰是信任被精心切割的缝隙。加上目前银行利率下降,金融市场证券类开户增加,很多盲目寻找“师傅”的小白就被欺诈团伙盯上。 今天说的虚假“南京证券”只是已经发生的案件之一,目前已经报案,所...
9小时前 0浏览
“稳赚不赔”的谎言背后,是无数家庭即将破碎的噩梦,智天数域究竟埋了多少雷? 第一,身份构建纯属虚构,所谓“香港智天资本”实为诈骗团伙的遮羞布。公安部早在2024年便将“智天系”列入民族资产解冻类诈骗黑名单,定性为十年老骗局。智天数域操盘手利用信息差,...
9小时前 0浏览
丝路保险这个股票跟单盘,震哥上个月就已经预警过一次了。这个盘子是“安我股保”的平移重启盘,现在换个包装又来了。 这次它给自己编了个新故事:说配合国家“保险资金入股市”政策,搞什么团队激励体系,晋升路径、周工资、年入几百万,听着挺像回事。 震哥在这里提...
9小时前 0浏览
昊天评盘界:丝路保险股票跟单类资金盘骗局,上个月昊天预警过一次了,原“安我股保”的平移重启盘,昊天看了一下诈骗平台这次包装又改了一下“丝路保险”自称是围绕国家“保险资金入股市”相关政策方向,构建以保险企业合规增员、稳健发展为核心的团队激励体系。通过清...
9小时前 0浏览
昊天评盘界:心光俱乐部这个分红类资金盘骗局,昊天之前也是曝光过几次,1月底崩盘改名泽尔机器人后又来割韭菜了,以前打着新能源的噱头,现在换成了机器人噱头平台里推出的是所谓的无人机投资,现在投资门槛比之前的盘高了,但模式没变还是分红盘,只不过换了个新包装...
9小时前 0浏览
网络中又出现了一些新的诈骗项目,大家千万不要被骗了! 1、“圆梦行动”发650万元的骗局 “圆梦行动”是公安部公布的民族资产解冻类诈骗项目,位列诈骗项目第一位。 网络中出现过多个“圆梦行动”APP,骗取参与者身份信息与钱财,有的已经跑路,有的正在诈骗...
9小时前 0浏览
根据最新曝光的信息,以下项目已被证实为典型的资金盘或诈骗平台,请广大投资者务必提高警惕,切勿相信任何“低风险、高回报”的承诺,保护好自己的钱袋子。 1. OTM公链(奥特米):虚构资产锚定的币圈骗局 OTM公链(又称奥特米公链)谎称与国企合作,编造其...
9小时前 0浏览
昊天评盘界:前几天昊天曝光了智汇社(龙铭策选)这个股票智能投资资金盘骗局,这种柬埔寨的杀猪盘骗局,昊天曝光过很多了,群里操盘手自称龙海峰,钟艳华,不少反诈博主给昊天反馈最近他们都收到了此诈骗团伙的举报,境外诈骗团伙冒用“广州智汇社商业管理有限公司”正...